國產五軸工具機精度量測調查概況以動柱搖籃式為例
1.目的
五軸加工機擁有高度靈活特性,可加工複雜工件,減少治具與工件轉換之停滯時間,可提升加工效率、縮短製程時間與提升刀具壽命,五軸加工機已是現今高精密、高品質工件製作不可或缺的機種之一。
工具機幾何精度與性能對於加工品質擁有相當的影響性,精機中心本次針對工具機廠新製的五軸工具機之空間精度進行量測,共計進行27台五軸工具機的精度檢測,其中包含動柱式13台、天車式9台與龍門式5台,檢驗項目主要有線性軸6自由度誤差、旋轉軸定位精度、循圓測試、立體空間對角線分析、R-Test刀尖跟隨同動精度,相關精度誤差分析與參考規範如表一所示,本文將以動柱式機型為主體,針對測試方法、測試標準、量測結果等,進行說明與探討。
![]() |
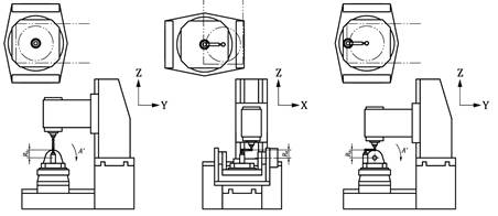
2.工具機構型與角度誤差定義說明
五軸工具機機型大致上可區分為三類:
(1)兩旋轉主軸頭(Head-Head)
(2)兩旋轉工作台(table-table)
(3)一旋轉主軸一旋轉工作台(Head- table)
五軸機型中,動柱式機型與天車式機型皆為兩旋轉工作台(table-table)機型,如圖一、圖二所示,以刀具右手定則定義機械座標系,動柱式機型,搖擺軸為繞著Y軸旋轉,定義為B軸,旋轉軸圍繞著Z軸旋轉定義為C軸,整體軸向定義為X、Y、Z、B、C;天車式機型,搖擺軸為繞著X軸旋轉,定義為A軸,旋轉軸圍繞著Z軸旋轉定義為C軸。
![]() |
![]() |
五軸機精度檢驗,本文中其角度誤差均以〝角秒〞表示,如圖三所示,1 度60 角分(arc-min);1 角分60 角秒(arc-sec);1 度為3600 角秒,即一角秒約0.000278度,如以氣泡式水平儀表示,如圖四所示,泡式水平儀一格為0.02mm/m ≒ 4角秒,或是0.005mm/m(1/4格) ≒ 1角秒。
![]() |
![]() |
3.標準規範與測試數據解析探討
針對各項測試之量測手法,參考標準與量測結果進行分析探討,其量測結果以最大最小值,與正規化數值進行解析探討。
3.1線性軸6項自由度誤差
五軸工具機一般含有三個線性軸以及兩個旋轉軸,根據ISO 230-1 國際標準定義,五軸機工具機誤差項目分為21個線性軸誤差及22個旋轉軸誤差,並以元件誤差(component error) 及位置誤差(location error)來定義,三軸線性結構以線性軸分為18個元件誤差,另加上三線軸組裝後之3個位置誤差,即垂直度,所以三軸線性結構共具有21個誤差項,其中單一線性軸包含Pitch、Yaw、Roll(角度誤差),平移誤差,包含水平向真直度、垂直向真直度及定位精度等6個自由度誤差,如圖五所示,本次測試透過Renishaw XM-60(6D Laser)進行量測,如圖六所示,單一線性軸量測,可同時量測並解析6個自由度誤差,有別傳統量測方,測試結果根據ISO 10791-2(2023)標準規範允收值進行誤差分析,如表二、表三所示,其中EXX、EYY、EZZ為定位精度,可參考ISO 10791-4標準規範。
![]() |
![]() |
![]() |
![]() |
單軸自由度測試結果如圖七~圖九所示,定位精度誤差,EXX最大誤差約:17µm,最小誤差約:2µm;EYY最大誤差約:15µm,最小誤差約:2µm;EZZ最大誤差約:12µm,最小誤差:2µm,皆符合ISO 19791-4標準規範,雙向定位精度28µm之允收值;平移方向最大誤差為EZY約為13µm,最小誤為EXY約為1µm。
旋轉方向誤差,大多符合ISO 10791-2,其中X軸向最大誤差為EBX約13〞,最小誤差為EAX約1〞;其中Y軸向最大誤差為EBY約8〞,最小誤差為EBY約1〞;其中Z軸向最大誤差為EAZ約13〞,最小誤差為ECZ約2〞。
由於動柱式五軸機構型,X軸向須背負滑座、鞍座、頭座等Y、Z軸結件重量,如圖一所示,因此X軸向時運行時,因受質量與慣性力等緣故,使得EBX角度誤差大,如圖十所示,將X軸旋轉自由度誤差值正規化,大多機台EBX誤差會大於EAX與ECX,此外在量測單軸自由度時,同時於不動件(工作台)架設電子水,量測工作台動態水平,相關測試結果進行正規化後, 如圖十一所示,由測試結果顯示,當移動X軸向時,工作台雖然為固定不動,但還是會受到移動件慣量的影響,能會導致EBX誤差較大。
![]() |
![]() |
![]() |
![]() |
![]() |
3.2旋轉軸定位精度
旋轉軸定位精度使用Renishaw XL-80與XR-20進行量測,如圖十二所示,定位精度量測方式是依據ISO 230-2標準規範進行量測與計算誤差,允收標準可參考ISO 10791-4標準規範,如圖十三所示,旋轉軸雙向定位精度應在28"內,單向定位精度應在22"內。旋轉軸定位精度誤差結果如圖十四所示,整體而言搖擺軸整體誤差大於C軸,由測試結果顯示,C軸無論有無clamping,誤差皆在20"內,符合ISO 10791-4允收標準,B軸無clamping時,最大誤差約為27",當clamping時,最大誤差約為38", 透過測試結果顯示,當旋轉軸clamping時,定位精度與未clamping差異較大時,建議可調整旋轉軸剎車,使定位精符合允收標準,提高加工品質。
![]() |
![]() |
![]() |
3.3循圓測試
循圓測試使用Renishaw QC-20進行量測,相關測試條件與允收標準可參考ISO 10791-6,如表四所示,本次測試條件如下列所示:
-XY平面:量測角度:360度 進給速度(F):1000mm/min
-YZ平面:量測角度:220度 進給速度(F):1000mm/min
-YZ平面:量測角度:220度 進給速度(F):1000mm/min
![]() |
真圓度誤差分析
真圓度誤差主要是依據ISO 230-4標準規範定義,進行圓度誤差分析,如圖十五所示,真圓度誤差為單一實際循圓軌跡,利用最小平方法求得虛擬圓心後,以此圓心當為基準進行畫圓,其循圓軌跡之最小內切圓與最大外接圓之半徑差,即為真圓度誤差。
![]() |
真圓度誤差分析結果如圖十六所示,由測試結果顯示,三平面真圓度誤差皆在30µm以內,符合ISO 10791-6允收標準,整體而言XY平面優於YZ、XZ本次測試結果XY平面最大誤差約為10µm,最小誤差約為4µm,XZ平面最大誤差約為18µm,最小誤差約為6µm,YZ平面最大誤差約為14µm,最小誤差約為7µm。
![]() |
3.4 立體空間4條對角線分析
立體空間4條對角線精度量測,使用儀器為Renishaw XL-80,如圖十七所示,
主要是依據ISO 230-6如圖十八所示,為D1、D2、D3、D4路徑,其量測點數每米至少5點,測速路度須小於最高進給速率之20%,相關量測方式可參考ISO 230-2定位精度檢驗方式。
量測空間精度,建議以增量式量測,架設起點座標為P1(X1,Y1,Z1),終點座標為P2(X2,Y2,Z2),量測長度(D)可透過公式1計算。
……(1)
每個量測位置單軸向所需移動的距離,可以通過公式計算,以X軸為例,利用公式(2)計算出X軸的總距離(XV),求得X軸向移動總距離後,可透過公式(3)求得X軸單次點位移動距離(IX),Y、Z軸向以此類推。
……(2)
……(3)
Id:對角向單次點位移動距離
| 圖十七、 對角線空間精度量測圖 | 圖十八、 ISO 230-6 對角空間精度定義圖 | 圖十九、 ISO 230-6量測路徑規劃 |
![]() |
![]() |
![]() |
對角線空間精度量測,標準規範並無規定允收數值,本次測試結果如圖二十所示,整體誤差差約在30µm以內,D1最大誤差約為25µm,最小誤差約為6µm;D2最大誤差約為30µm,最小誤差約為7µm;D3最大誤差約為27µm,最小誤差約為6µm;D4最大誤差約為28µm,最小誤差約為5µm。
![]() |
3.5 刀尖跟隨同動精度
刀尖跟隨同度誤差是使用IBS R-Test 進行量測,如圖二十一所示,量測路徑參考ISO 10791-6路徑,如圖二十二~二十四所示,區分為BK1、BK2、BK4三種路徑,以動柱式機型為例
BK1為搖擺軸(B軸)與XZ軸同動之刀尖跟隨路徑(XZB),ISO 10791-6建議速度為360˚/min,量測角度建議大於90˚,或者因干涉所可運行之最大行程,並且需量測順時針與逆時針方向,或由製造商與購買者協議。
BK2為旋轉軸(C軸) 與XY軸同動之刀尖跟隨路徑(XYC) 建議速度為360˚/min,量測角度建議360 ˚並且需量測順時針與逆時針方向,或由製造商與購買者協議。
BK4為搖擺軸(B軸)、旋轉軸(C軸)與XYZ軸同動之刀尖跟隨路徑(XYZBC),議速度為360˚/min,或由製造商與購買者協議。
![]() |
| 圖二十二、 BK1 刀尖跟隨路徑 | 圖二十三 BK2 刀尖跟隨路徑 | 圖二十四 BK4 刀尖跟隨路徑 |
![]() |
![]() |
![]() |
刀尖跟隨誤差目前ISO並無標準允收值,僅提供測試方法,相關測試結果如圖二十五所示,本次測試BK1最大誤差約為:67µm,最小誤差約為:12µm;BK2最大誤差約為:54µm,最小誤差約為:11µm;BK4最大誤差約為:54µm,最小誤差約為:16µm,BK4精度誤差會受到BK1與BK2精度誤差影響,一般而言當BK1與BK2精度誤差越小,其BK4精度誤差也會較小。
刀尖跟隨誤差為綜合性誤差結果,可將精度誤差原因歸類為幾何精度、旋轉中心與電控參數三大類,如圖二十六所示,當同動精度誤差不符合廠內標準時,可先進行旋轉中心補償與參數調整進行優化,再透過如自由度測試、空間精度測試、定位精度測試等,解析誤差原因進行相關調整,優化刀尖同動精度,提升加工品質,於廠商個別案例中如圖二十七所示,為BK1靜態同動精度量測,同動軸向為XZB軸,由測試結果顯示,最大總和誤差為:126.3µm,分析為旋轉中心誤差過大所導致,經進行旋轉中心位置補償後,再進行量測,測試結果如圖二十八所示,最大總和誤差為:11.05µm,BK1動態誤差如圖二十九所示,最大總和誤差為:12.5µm(無計算反向尖點,但同動加工時仍會有一痕跡),此外從圖二十八測試結果顯示,當執行BK1測試時,路徑為B軸在XZ平面上進行,不應有Y方向之誤差量,但Y軸仍有約7.6µm誤差,並會隨著B軸旋轉角度呈線性分布,研判主要原因可能為B軸軸線與Y軸不平行所造成;執行BK2靜態測試時,同動軸向為XYC軸,由測試結果顯示,最大總和誤差為:32.4µm,誤差值過大,測試結果如圖三十所示,經旋轉中心補償後,測試結果如圖三十一所示,最大總和誤差為:10.4µm,精度誤差有明顯改善,但由測試結果顯示Z軸向能會因C軸位置變化呈現線性分布,主要原因可能為Y軸自重下垂,導致C軸與Z軸平行度的誤差,BK2動態誤差如圖三十二所示,最大總和誤差為:13.2µm(無計算反向尖點,但同動加工時仍會有一痕跡),BK4五軸同動動態誤差如圖三十三所示,最大總和誤差為:18.2µm(無計算反向尖點,但同動加工時仍會有一痕跡)
| 圖二十五 刀尖跟隨同動誤差數據圖 | 圖二十六 刀尖跟隨同動誤差原因分析圖 |
![]() |
![]() |
| 圖二十七 BK1靜態同動誤差-原始狀態 | 圖二十八 BK1靜態同動誤差-旋轉中心補償後 | 圖二十九 BK1動態同動誤差 |
![]() |
![]() |
![]() |
|
圖三十 BK2靜態同動誤差-原始狀態 |
圖三十一 BK2靜態同動誤差-旋轉中心補償後 |
圖三十二 BK2動態同動誤差 |
![]() |
![]() |
![]() |
![]() |
4.結論
1.本次的精度調查結果,可發現國內工具機業者所生產製造的五軸工具機,其精度誤差大多符合ISO 10791相關標準規範允收值,部分廠商已達到1/2規範允收值。
2.旋轉軸定位精度量測,進行有clamping跟無clamping的量測,如兩者精度誤差太大,建議可檢查煞車系統,無clamping的精度主要會影響5軸同動加工精度,有clamping時,雖然主要執行3+2軸的粗加工或中胚加工,如定位
精度差異太大,會造成切削過程每刃進給切削量不穩定,使得刀具壽命的降低,此外如進行鑽孔加工時,亦有可能造成孔位位置度偏差或圓柱度的偏差。
3.刀尖跟隨同動誤差檢測,建議先分別進行BK1、BK2路徑量測,確認相關幾何精度與旋轉中心是否補償正確,再進行BK4路徑量測,以確保能檢測到機器正確應該之同動精度。
4.希望透過本次調查結果,協助業者日後再開發相關五軸機型時,可參考相關檢驗數據誤差範圍,設定精度目標值,優化機台精度,往高品級工具機邁進,提升整體加工精度與品質。
參考文獻
(1)ISO 230-1標準規範(2012版)
(1)ISO 230-2標準規範(2014版)
(2)ISO 230-4準規範(2005版)
(3)ISO 230-6標準規範(2002版)
(4)ISO 1079-2標準規範(2023版)
(5)ISO 1079-4標準規範(1998版)
(6)ISO 1079-6標準規範(2014版)
(7)黃智達,技術通報 286期_離軸旋轉定位精度量測探討,精機中心
(8)廖志偉,技術通報 294期_提高產線價值導入年度校正與品質管制,精機中
心
(9)黃智達,技術通報 299期_工具機定位精度與重複精度淺談,精機中心




































